在GRE数学几何中,长方体的是考查的一个重点。下面,小编就带大家去看看GRE数学知识点之圆柱体实例解析,帮助大家巩固这个知识点。
GRE数学知识点之圆柱体介绍
Cylinders(圆柱体)
右图是一个正圆柱体(right-circular cylinder,the tube is sliced at 90 angles)。在GRE考试中斜圆柱体(上下表面与圆柱体的轴线不垂直的圆柱体)是不做要求的。从右图中可以看出正圆柱体的表面积由三部分组成:
(1) the circular base(下底面)
(2) the circular top(上底面)
(3) the rectangular surface around the cylinder’s vertical face (侧面,visualize a rectangular label wrapped around a soup can)
The area of the vertical face is the product of the circular base’s circumference (i. e.,the rectangle’s width) and the cylinder’s height. Thus, given a radius “r” and height “h” of a cylinder :
Surface Area = 2πr2 + 2πrh
圆柱体的体积等于底面积乘高
V=πr2h
GRE数学知识点之圆柱体实例解析
1. A rectangular label is attached to a right circular cylinder with radius r. The label, which encircles the cylinder without overlap, has width w and an area equal to the area of the base of the cylinder.

A W
B r
一个长方形的检签贴在半径为r的直圆柱上。该标签围绕圆柱体一周且不重叠,其宽 为w,面积等于圆柱体底面的面积。
解:本题的正确答案为(B)。由于该标签围绕圆柱体且不重叠,所以其长度等于圆柱体底面 的周长=2πr,则其面积=2πr•w (因为这是一个长方形标签),圆柱体底面积为πr2, 由题意可得:2πr• w=πr2→w=r/2。
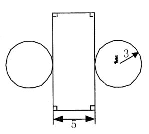
2. The figure above shows a cylindrical can that has been cut open and flattened.

A The volume of the can before it was cut open
B 45π
题干的意思是:左面的图形表示一个切开后并展开的圆柱体罐子。
解:本题的正确答案为(C)。由图可知该圆柱体的高为5,底面圆的半径为3,根据圆柱体的 体积公式可得该圆柱体的体积为:πr2 • h =π* 32 • 5 = 45π
以上就是GRE数学知识点之圆柱体实例解析,希望对大家复习有帮助。
您还可能关注:

